设为首页 收藏本站
查看: 845|回复: 0

[经验分享] oracle数据库定时备份、导入

[复制链接]

尚未签到

发表于 2018-9-21 11:48:30 | 显示全部楼层 |阅读模式
  PLM项目正式已经上线测试中,数据管理是重中之重,便于故障恢复处理,避免数据丢失。思路:数据导出+定时备份+数据循环清理
  1、拷贝Oracle安装目录bin下面exp.exe(也可设置exp.exe环境变量)  至备份文件夹 oraclebackup文件(没有可以新建)
  2、导出数据xxx库  新建文件夹编辑
  

@echo off  
echo 删除10天前的备分文件和日志
  

  
forfiles /p "E:\oraclebackup" /m *.dmp /d -10 /c "cmd /c del @path"
  
forfiles /p "E:\oraclebackup" /m *.log /d -10 /c "cmd /c del @path"
  

  
echo 正在备份 Oracle 数据库,请稍等……
  
exp system/infodba@xxx file=E:/oraclebackup/mdb%date:~0,4%%date:~5,2%%date:~8,2%.dmp log=E:/oraclebackup/mdb%date:~0,4%%date:~5,2%%date:~8,2%.log full=y buffer=65535
  
echo 任务完成!
  

  修改后缀名  .bat
  3、数据恢复
  选定备份数据最新数据文件
  imp   system/infodba@xxx  file=E:/oraclebackup/mdb.dmp full=y ignore=y
  4、设置windows 备份
  任务计划——>添加任务——>选择时间——>选择dos文件——>执行测试
  相关知识点说明
  dos命令相关
  forfiles /p "E:\oraclebackup" /m *.dmp /d -10 /c "cmd /c del @path"
  dos命令 forfiles  文件夹遍历循环
  /p 指定的路径
  /s 包括子目录
  /m 查找的文件名掩码
  /d 指定日期,有绝对日期和相对日期, 此处-7指当前日期 的7天前
  /c 运行的命令行   表示为每个文件执行的命令。命令字符串应该用双引号括起来。
  

                    默认命令是 "cmd /c echo @file"。下列变量  

  可以用在命令字符串中:
  

  @file    - 返回文件名。
  

  @fname   - 返回不带扩展名的文件名。
  

  @ext     - 只返回文件的扩展。
  

  @path    - 返回文件的完整路径。
  

  @relpath - 返回文件的相对路径。
  

  @isdir   - 如果文件类型是目录,返回 "TRUE"; 如果是文件,返回 "FALSE"。
  

  @fsize   - 以字节为单位返回文件大小。
  

  @fdate   - 返回文件上一次修改的日期。
  

  @ftime   - 返回文件上一次修改的时间。
  

  数据库相关  
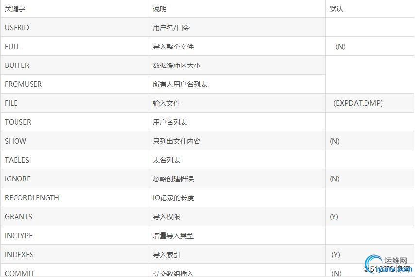
  exp是数据导出执行文件
DSC0000.jpg

DSC0001.jpg

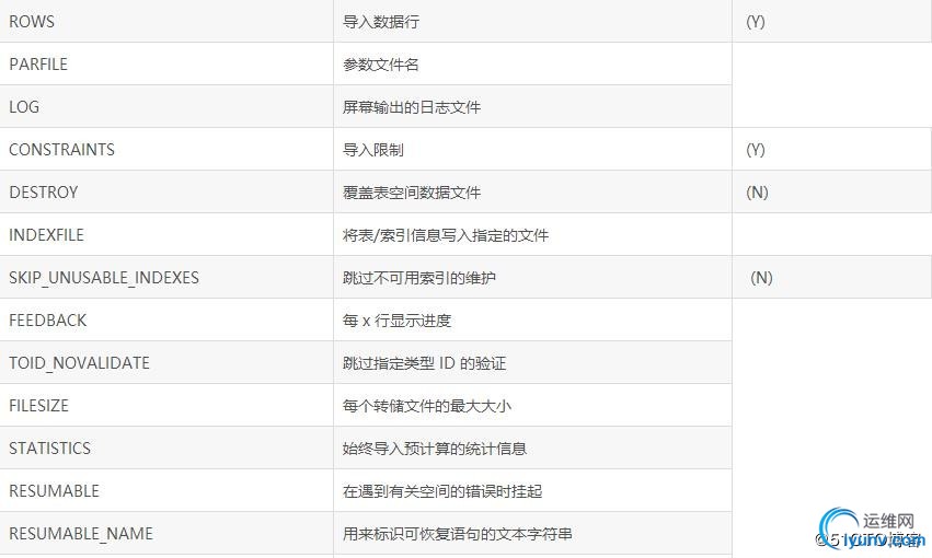
  imp是导入执行文件
DSC0002.jpg

DSC0003.jpg

DSC0004.jpg




运维网声明 1、欢迎大家加入本站运维交流群:群②:261659950 群⑤:202807635 群⑦870801961 群⑧679858003
2、本站所有主题由该帖子作者发表,该帖子作者与运维网享有帖子相关版权
3、所有作品的著作权均归原作者享有,请您和我们一样尊重他人的著作权等合法权益。如果您对作品感到满意,请购买正版
4、禁止制作、复制、发布和传播具有反动、淫秽、色情、暴力、凶杀等内容的信息,一经发现立即删除。若您因此触犯法律,一切后果自负,我们对此不承担任何责任
5、所有资源均系网友上传或者通过网络收集,我们仅提供一个展示、介绍、观摩学习的平台,我们不对其内容的准确性、可靠性、正当性、安全性、合法性等负责,亦不承担任何法律责任
6、所有作品仅供您个人学习、研究或欣赏,不得用于商业或者其他用途,否则,一切后果均由您自己承担,我们对此不承担任何法律责任
7、如涉及侵犯版权等问题,请您及时通知我们,我们将立即采取措施予以解决
8、联系人Email:admin@iyunv.com 网址:www.yunweiku.com

所有资源均系网友上传或者通过网络收集,我们仅提供一个展示、介绍、观摩学习的平台,我们不对其承担任何法律责任,如涉及侵犯版权等问题,请您及时通知我们,我们将立即处理,联系人Email:kefu@iyunv.com,QQ:1061981298 本贴地址:https://www.iyunv.com/thread-599384-1-1.html 上篇帖子: oracle导入sql文件 下篇帖子: Oracle遇到的一些坑
您需要登录后才可以回帖 登录 | 立即注册

本版积分规则

扫码加入运维网微信交流群X

扫码加入运维网微信交流群

扫描二维码加入运维网微信交流群,最新一手资源尽在官方微信交流群!快快加入我们吧...

扫描微信二维码查看详情

客服E-mail:kefu@iyunv.com 客服QQ:1061981298


QQ群⑦:运维网交流群⑦ QQ群⑧:运维网交流群⑧ k8s群:运维网kubernetes交流群


提醒:禁止发布任何违反国家法律、法规的言论与图片等内容;本站内容均来自个人观点与网络等信息,非本站认同之观点.


本站大部分资源是网友从网上搜集分享而来,其版权均归原作者及其网站所有,我们尊重他人的合法权益,如有内容侵犯您的合法权益,请及时与我们联系进行核实删除!



合作伙伴: 青云cloud

快速回复 返回顶部 返回列表