设为首页 收藏本站
查看: 1111|回复: 0

[经验分享] PatentTips

[复制链接]

尚未签到

发表于 2015-9-11 10:35:50 | 显示全部楼层 |阅读模式
BACKGROUND
  Typically, a multithreaded processor or a multi-processor system is capable of processing multiple instruction sequences concurrently. A primary motivating factor driving execution of multiple instruction streams within a single processor is the resulting improvement in processor utilization. Multithreaded processors allow multiple instruction streams to execute concurrently in different execution resources in an attempt to better utilize those resources. Furthermore, multithreaded processors can be used for programs that encounter high latency delays or which often wait for events to occur.
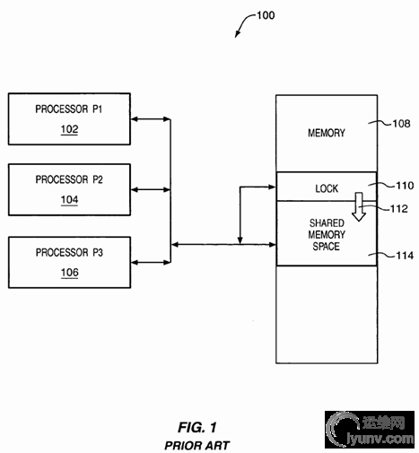
  Typically, computer systems have a single resource setup that is to be shared by all threads or processors. Not having adequate resources may result in significant contention between processors (or threads) because, for example, processors share bus and memory bandwidth. This contention is particularly evident when one or more processors wait for a semaphore or lock (which refers to the data structure often used to allow a single processor exclusive access to other data structures) to become available. This causes bottlenecking of resources, waste of memory bandwidth, compute bandwidth, microarchitectural resources, and power. The "busy waiting" of processors can also have an adverse effect on the performance of other processors in the system. FIG. 1 is a block diagram illustrating an exemplary computer system 100 having processors 102-106 accessing a shared memory space 114. The semaphore (lock) 110 is a particular location in memory 108 that is assigned to contain a value associated with obtaining access 112 to the shared space 114. In order for one of the processors 102-106 to access the shared space 114, it first accesses the lock 110 and tests the state (value) of the data stored in the lock location 110 and, in the simplest format, either of two values are assigned to the lock 110. The first value indicates the availability of the shared space 114 for access and the second value indicates the current utilization of the shared space 114 and thus, it is not available for access. Also, bit states 1 and 0 can be used for the locked and unlocked states for the lock 110.
DSC0000.png
  The accessing of the memory 108 by the processors 102-106 for data transfer typically involves the use of load and store operations. The load operation transfers memory content from a location accessed in the memory 108, while the store operation transfers data to a memory location accessed in the memory 108. Thus, load/store operations are used to access the memory 108 and the lock 110 for data transfer between the processors 102-106 and the memory 108. The load and store accesses are also referred to as read and write accesses, respectively. When performing a read, the cache line is present in the processor's cache in either "shared unmodified" or "exclusive" or "modified" according to a protocol, such as the Modified, Exclusive, Shared, Invalid (MESI) protocol. If the cache line is not present in one of these states (e.g., invalid) the processor 102-106 retrieves the line from the memory 108 and places it into "shared unmodified" or "exclusive" state. In order to perform a write, the processor 102-106 has the line in its cache in "exclusive" or "modified" state, or it retrieves it and places it into its cache in "exclusive" state. The "shared state" is available for concurrent reading, but only one processor 102-106 can have the line in "exclusive" state for reading or writing.
  An example of a technique for examining the availability of and making the semaphore busy is the use of an atomic read-modify-write sequence (e.g., "test & set" (TS) mechanism). One mechanism for implementing synchronization is the "compare and exchange instruction," which is relatively efficient, but not efficient enough as it requires exclusive ownership of the cache line of the memory location. This prevents other processors from reading the memory location concurrently.
  Another example includes the "test & test & set" (TTS) mechanism. The TTS mechanism is relatively more efficient because the processor accesses a local cache copy in shared state of the variable for the first test, while the semaphore is not free. However, when one processor has acquired the lock and other processors are contending (e.g., simultaneous attempted reading to check if the semaphore is free) for the lock, the TTS mechanism fails to prevent the blocking or bottlenecking of other processors. The lock acquiring processor obtains the cache line of the lock in "exclusive" state forcing it out of all other caches. When it is done writing the lock, the other processors attempt a read, which causes the acquiring processor to write its modified lock value back to memory and forward the now shared data to the other processors in a sequence of bus transactions.
DETAILED DESCRIPTION
  FIG. 2 is a block diagram illustrating an embodiment of an encoding scheme for an instruction 200. An instruction (e.g., compare and exchange (CMPXCHG)) 200 for performing a read-modify-write operation is illustrated. The instruction 200 reads a first source data, compares it to another source data, and if the comparison meets predetermined criteria or condition (e.g., when a comparison is true), some modified value is written to a location. The location may include the original location of the first source data. If the predetermined condition is not met, the original data in the location is not amended. Another location may be updated with the status, including one of the locations other than the original data, as follows:
  

  • cmpxchg dest, src (with implicit accumulator register)
  • accumulator register RAX contains expected unlocked value

  • if accumulator=dest then

    • zero-flag=1
    • dest=src


  • else

    • zero-flag=0
    • accumulator=dest

  • endif
DSC0001.png
  The instruction 200 includes a single atomic instruction including an opcode operand 202, which is used to identify the instruction 200 as CMPXCHG instruction, and operands associated with SRC1, SRC2, SRC3 and DEST 204-210 corresponding to source and destination.
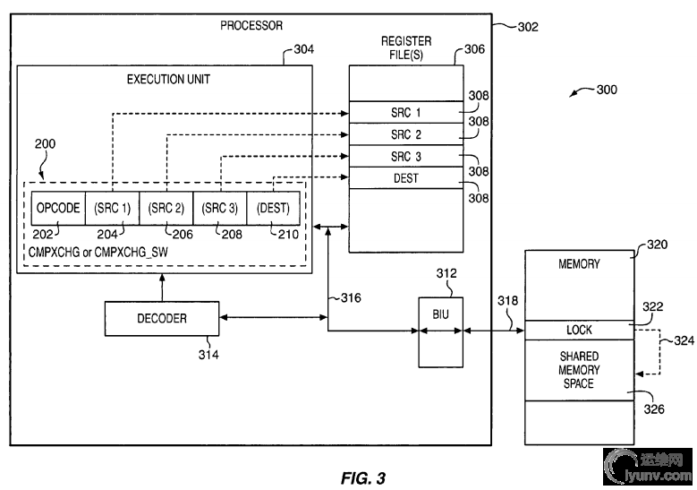
  FIG. 3 is a block diagram illustrating an embodiment of a processing architecture 300 for implementing an instruction 200. The processor 302 is shown a central processing unit (CPU) having an execution unit 304, a register file 306 (including registers 308 ) and a decoder 314 coupled together by a bus316. The register file 306 includes a set of registers 308 that are accessed by the execution unit 304 for executing instructions 200. The instruction200 may include a CMPXCHG instruction of FIG. 2 or an embodiment of a compare and exchange instruction with sleep-wakeup mechanism (CMPXCHG_SW instruction).
DSC0002.png
  The instruction 200 is shown as residing within the execution unit 304 and the dotted lines are shown from the operands 202-210 of the instruction 200to the corresponding registers 308 in the register file 306. The decoder 314 is used to decode the instruction 200 for execution. The memory 320 is in communication with the bus interface unit (BIU) 312 via a bus 318. The BIU 312 is used to transfer data between the memory 320 and the processor302. It is contemplated that the program routine (operation sequence) for the instruction 200 may reside within the memory 320. Prior to the execution of the instruction 200, SRC1, SRC2 and SRC3 may be loaded in the registers 308. In one embodiment, a process-compare-operand (PCO) register (not shown) may be used to function as a register for SRC2 and/or DEST at different periods during the execution of the instruction 200. Stated differently, prior to the execution, SRC1 and SRC3 are loaded in the registers 308, while the SRC2 information is loaded into the PCO register, acting as the dedicated register for the SRC2 information.
  In one embodiment, the instruction 200 includes a CMPXCHG_SW instruction, for which the compare and exchange operation with sleep-wakeup mechanism (CMPXCHG_SW mechanism) is implemented and performed by the processing architecture 300. Such mechanism may be implemented using hardware (e.g., implemented in the processor 302 ) and/or software (e.g., synchronization code to implement and perform various functions of the mechanism). In one embodiment, the CMPXCHG_SW mechanism is used to put a CMPXCHG_SW instruction to sleep if the desired lock 322 (for gaining access to the shared memory space 326 ) is not available, such as being acquired by another processor. Subsequently, when the acquiring processor has completed its access to the shared memory space 326, it may then need to reset (or modify) the lock 322 to the open (or unlocked) condition so that another processor can now gain control to access the shared memory space 326. How the system releases the control over the shared memory space 326 may be a design choice (e.g., as dictated by the system architecture). For example, an unlocked status value can be written directly to the lock 322 or written/saved in a register 308. The CMPXCHG_SW mechanism is further disclosed with reference to FIGS. 7-9.
  FIG. 4 is a block diagram illustrating an exemplary computer system 400 for use in implementing one or more embodiments of the present invention. The computer system (system) includes one or more processors 402-406. The processors 402-406 may include one or more single-threaded or multi-threaded processors. A typical multi-threaded processor may include multiple threads or logical processors, and may be capable of processing multiple instruction sequences concurrently using its multiple threads. Processors 402-406 may also include one or more internal levels of cache (not shown) and a bus controller or bus interface unit to direct interaction with the processor bus 412.
DSC0003.png
  Processor bus 412, also known as the host bus or the front side bus, may be used to couple the processors 402-406 with the system interface 414. Processor bus 412 may include a control bus 432, an address bus 434, and a data bus 436. The control bus 432, the address bus 434, and the data bus 436 may be multidrop bidirectional buses, e.g., connected to three or more bus agents, as opposed to a point-to-point bus, which may be connected only between two bus agents.
  System interface 414 (or chipset) may be connected to the processor bus 412 to interface other components of the system 400 with the processor bus412. For example, system interface 414 may include a memory controller 418 for interfacing a main memory 416 with the processor bus 412. The main memory 416 typically includes one or more memory cards and a control circuit (not shown). System interface 414 may also include an input/output (I/O) interface 420 to interface one or more I/O bridges or I/O devices with the processor bus 412. For example, as illustrated, the I/O interface 420 may interface an I/O bridge 424 with the processor bus 412. I/O bridge 424 may operate as a bus bridge to interface between the system interface 414 and an I/O bus 426. One or more I/O controllers and/or I/O devices may be connected with the I/O bus 426, such as I/O controller 428 and I/O device 430, as illustrated. I/O bus 426 may include a peripheral component interconnect (PCI) bus or other type of I/O bus.
  System 400 may include a dynamic storage device, referred to as main memory 416, or a random access memory (RAM) or other devices coupled to the processor bus 412 for storing information and instructions to be executed by the processors 402-406. Main memory 416 also may be used for storing temporary variables or other intermediate information during execution of instructions by the processors 402-406. System 400 may include a read only memory (ROM) and/or other static storage device (not shown) coupled to the processor bus 412 for storing static information and instructions for the processors 402-406.
  Main memory 416 or dynamic storage device may include a magnetic disk or an optical disc for storing information and instructions. I/O device 430 may include a display device (not shown), such as a cathode ray tube (CRT) or liquid crystal display (LCD), for displaying information to an end user. For example, graphical and/or textual indications of installation status, time remaining in the trial period, and other information may be presented to the prospective purchaser on the display device. I/O device 430 may also include an input device (not shown), such as an alphanumeric input device, including alphanumeric and other keys for communicating information and/or command selections to the processors 402-406. Another type of user input device includes cursor control, such as a mouse, a trackball, or cursor direction keys for communicating direction information and command selections to the processors 402-406 and for controlling cursor movement on the display device.
  System 400 may also include a communication device (not shown), such as a modem, a network interface card, or other well-known interface devices, such as those used for coupling to Ethernet, token ring, or other types of physical attachment for purposes of providing a communication link to support a local or wide area network, for example. Stated differently, the system 400 may be coupled with a number of clients and/or servers via a conventional network infrastructure, such as a company's Intranet and/or the Internet, for example.
  It is appreciated that a lesser or more equipped system than the example described above may be desirable for certain implementations. Therefore, the configuration of system 400 may vary from implementation to implementation depending upon numerous factors, such as price constraints, performance requirements, technological improvements, and/or other circumstances.
  It should be noted that, while the embodiments described herein may be performed under the control of a programmed processor, such as processors402-406, in alternative embodiments, the embodiments may be fully or partially implemented by any programmable or hardcoded logic, such as field programmable gate arrays (FPGAs), transistor transistor logic (TTL) logic, or application specific integrated circuits (ASICs). Additionally, the embodiments of the present invention may be performed by any combination of programmed general-purpose computer components and/or custom hardware components. Therefore, nothing disclosed herein should be construed as limiting the various embodiments of the present invention to a particular embodiment wherein the recited embodiments may be performed by a specific combination of hardware components.
  FIG. 5 is a block diagram illustrating an embodiment of a multithreaded processor 500 for use in implementing one or more embodiments of the present invention. According to one embodiment a processor 500 may be formed as a single integrated circuit. According to another embodiment, multiple integrated circuits may together form a processor 500, and according to yet another embodiment, hardware and software routines (e.g., binary translation routines) may together form the processor 500. The processor 500 may include one or more of the processors 402-406 of FIG. 4. As illustrated, a bus/memory controller 520 may provide instructions for execution to a front end 530. The front end 530 may direct the retrieval of instructions from various threads according to instruction pointers 570. Instruction pointer logic may be replicated to support multiple threads.
DSC0004.png
  According to one embodiment, the front end 530 may feed instructions into thread/processor partitionable resources 540 for further processing. The thread/processor partitionable resources 540 may include logically separated partitions dedicated to particular threads when multiple threads are active within the processor 500. The thread/processor partitionable resources 540 may include, for example, instruction queues. When in a single thread mode, the partitions of the thread/processor partitionable resources 540 may be combined to form a single large partition dedicated to the one thread.
  According to one embodiment, the processor 500 may also include replicated state 580. The replicated state 580 may include state variables sufficient to maintain context for a logical processor. With replicated state 580, multiple threads may execute without competition for state variable storage. Additionally, register allocation logic may be replicated for each thread. The replicated state-related logic may operate with the appropriate resource partitions to prepare incoming instructions for execution.
  According to one embodiment, the thread/processor partitionable resources 540 may pass instructions along to shared resources 550. The shared resources 550 may operate on instructions without regard to their origin. For example, scheduler and execution units may be thread-unaware shared resources. The partitionable resources 540 may feed instructions from multiple threads to the shared resources 550 by alternating between the threads in a fair manner that provides continued progress on each active thread.
  According to one embodiment, the shared resources 550 may be followed by another set of thread/processor partitionable resources 560. The thread/processor partitionable resources 560 may include retirement resources, such as a re-order buffer. Accordingly, the thread/processor partitionable resources 560 may ensure that execution of instructions from each thread concludes properly and that the appropriate state for that thread is appropriately updated.
  According to one embodiment, programmers may be provided with a mechanism to implement the functionality of efficient synchronization through sleep-wakeup compare and exchange without requiring constant polling of a memory location or even execution of instructions. For example, the memory access monitor 510 may be programmable with information about a memory access location for which the memory access monitor 510 may be enabled to watch. Accordingly, the memory access monitor 510 may include a monitor location information register 512, which is compared against memory location information received from the bus/memory controller 520 using comparison logic 514.
  The monitor location information register 512 may contain details specifying the type of cycle and/or the address which may trigger the resumption or awakening of the instruction. The monitor 510 may contain a timeout counter to start the resume signal. Also, the monitor 500 may contain a register512 that contains the address to match the information that comes across a bus. A comparison between the bus and register 512 (e.g., having the timeout counter) is conducted. Any cycle may be in the form of an explicit write cycle and/or may be a read for ownership (e.g., action that results in exclusive ownership of the cache line) or an invalidating cycle by another agent attempting to take exclusive ownership of a cacheable line.
  FIG. 6 is a block diagram illustrating an embodiment of a system 600 having multiple processors 602-606 using the CMPXCHG_SW mechanism 614-618. As illustrated, the system 600 includes multiple processors 602-606 contending for a lock 634, which is assigned to control accesses (as indicated by the arrow 638 ) to the shared space/variable 636 in the memory 632. In the illustrated embodiment, each of the processors 602-606 uses a CMPXCHG_SW mechanism 614-616, which may be hardware implemented on each processor 602-606 and is executed using a software-based synchronization code. An exemplary instruction sequence 620-624 is also shown for each processor 602-606 for clarity and better understanding of an embodiment.
DSC0005.png
  As illustrated, CMPXCHG_SW instruction 608 is executed on the processor 602, which is successful in acquiring the lock 634 for access to the shared memory space 636. The shared space 636 of the memory 632 may be used for the duration of time while the processor 602 owns the semaphore, but the processor 602 may, during the acquisition process, obtain the lock 634 in the exclusive state and prevent other actions on the lock 634. Afterward, shared state may be used to share a copy of the lock 634. In one embodiment, when another processor 604-606 attempts for the lock 634 that is not free, the CMPXCHG_SW instruction 610-612 at the processor 604-606 is put to sleep. Stated differently, for example, when the processor 604 seeks to obtain the acquired lock 634, a value is returned from the memory 632 which indicates the lock 634 is being used by the processor 602 and, in one embodiment, instead of putting the processor 604 in a continuous "while" loop until the lock 634 become available, the CMPXCHG_SW instruction 610at the processor 604 is put to sleep. Similarly, the CMPXCHG_SW instruction 612 at the processor 606 is also put to sleep when the contending lock634 that the processor 606 is seeking is busy.
  In one embodiment, putting a CMPXCHG_SW instruction 610-612 into a sleep state indicates that the CMPXCHG_SW instruction 610-612 is idle and is waiting for an event to awaken or trigger it. While the CMPXCHG_SW instructions 610-612 are in the idle or sleep state, the processors 606-608may continue to perform other tasks, such as executing other instructions 628-630, although the instructions 628-630 may not be retired, until the older CMPXCHG_SW instructions 610-612 are awaken, have executed, and retired. Stated differently, any subsequent loads (e.g., instructions 628 or 630 ) can obtain its value, perform certain tasks and calculation, but wait in a tentative or speculative state in the processor 604-606, until the CMPXCHG_SW instruction 610-612 at sleep is awaken. Any instruction from the reorder buffer (ROB) can be executed, out-of-order; however, new or younger instructions 628-630 that are still in the speculative stage may not be retired, until the oldest CMPXCHG_SW instruction 610-612 is awaken and retired.
  Having the processors 604-606 perform various tasks, instead of continually spin-waiting (loading and comparing) on the local shared copy, while the CMPXCHG_SW instructions 610-612 are sleeping, helps avoid the processors 604-606 from being blocked or bottlenecked. This technique helps save power and time, and improve performance. The technique further helps with concurrent progress in the absence of dynamic data sharing among the synchronizing processes. For example, suppose a hash table is protected by a lock 634 to prevent multiple processes from updating it simultaneously, and if two processes necessitated the updating of the different parts of the hash table (e.g., adding elements to different bins), the technique could allow the two processes to proceed simultaneously. This is distinguished from having one processor do the updating at the expense of completely blocking all useful work on any other processor even if it does not interfere dynamically with any other processor. For example, processor 602 may own the lock and locate the proper hash table bin and update it with its value. Meanwhile, processor 604, which does not own the lock, may also locate the proper bin, prepare the value and the location to be written, but may not retire the instructions that update the hash table until processor 604 is able acquire the lock and the retire the CMPXCHG_SW instruction 608.
  In one embodiment, the waking up of the CMPXCHG_SW instruction 610-612 can be triggered with the occurring of an event, such as the lock 634being released (and becoming available) or when an attempt is made by the processor 602 (in the exemplary instruction sequence 620) having the lock634 to rewrite the lock value, which indicates the potential availability of the lock 634. For example, while the instruction 610 is in the sleep state, the processor 604 may monitor the availability of the lock 634 by seeking a new lock value (e.g., lock is released) or observing an attempt by a processor to change the lock value (e.g., lock is potentially released, invalidation of the cache line containing the shared space 636, invalidation of the cache line containing the lock 634). Once the attempt by a processor to change the lock value is made (e.g., the processor 602 invalidates the variable in the caches (not shown) of processors 604-606 in order to gain exclusive ownership to write to the lock variable), the waking up of the CMPXCHG_SW instruction 610 is triggered. The processor 604 then reads the new value and, once again, requests for the lock 634 (e.g., lock variable) in the shared space 636 and, in response to the request, receives the lock variable 634 and the CMPXCHG instruction 610 is executed and retired and any other instructions 628 (executed while the CMPXCHG_SW 610 instruction is sleeping) are also subsequently retired. By putting the instruction 610 to sleep, the processor 604 avoids continuously streaming through the typical load, compare, and branch sequence, which helps add efficiency and save power.
  In one embodiment, the CMPXCHG_SW mechanism 614-618 helps avoid having a software-based spin-loop since the wait ("while" loop) may be implemented in hardware. In one embodiment, the CMPXCHG_SW mechanism 614-618 is hardware and/or software based, which integrates the "while" loop into the sleeping of the CMPXCHG instructions 610-612, which helps avoid continuously running of the "while" loop. An exemplary synchronization code for implementing and synchronizing the mechanism 614-616 includes:
      eax (accumulator) = 0    // 0 denotes free,
      ecx = 1    // 1 denotes locked
  label: cmpxchg [lock_var], ecx;    // if lock_var = 0, then set to 1 zf, set lock_var = 1,    
      // otherwise sleep    
      jne label    // if failed to acquire try again
      instr1;    // critical section instructions
      instr2;    // critical section instructions
      lock_var = 0;    // unlock
  
  where, eax and ecx (and also, ebx, edx, etc.) refer to various registers, also, generically, known as R1 or Reg1, R2 or Reg2, R3 or Reg3, etc., and zf refers to the zero flag status register of the processor, and jne (jump if not equal) refers to determining whether the attempt was successful or not, and if it was not successful, it branches back to the label (e.g., jne label) to execute an instruction.
  FIG. 7 is a flow diagram illustrating an embodiment of a process for performing the CMPXCHG_SW mechanism. First, at processing block 702, a processor in a multiprocessor system seeks to acquire a lock. It is contemplated that the seeking may not require an exclusive ownership of the lock, but instead, the lock may be acquired in a shared state. At decision block 704, a determination is made as to whether the lock is available. If the lock is available, the processor acquires it at processing block 706 utilizing the conventional compare and exchange operation.
DSC0006.png
  In one embodiment, if the lock is not available, the CMPXCHG_SW instruction at the processor is put to sleep until, for example, it is awaken with a change (or an attempted change) in the lock value at processing block 708. Stated differently, once the value from the memory is returned to the processor indicating the unavailability of the lock, the CMPXCHG_SW instruction at the processor, which is seeking the lock, is put to sleep, instead of having the CMPXCHG_SW instruction continuously spinning in a "while" loop and re-requesting the lock with every loop. At processing block 710, the memory system of the processor monitors any changes in the lock value, which could indicate the availability or potential availability of the lock. For example, the processor having access to the lock may make an attempt to change the lock value to release the lock for other processors to seek and acquire. Any such activity may be observed by the memory system and may awaken the sleeping CMPXCHG_SW instruction to watch for possible lock availability.
  In one embodiment, while the CMPXCHG_SW instruction is sleeping, the memory system of the processor monitors changes in the lock value. Furthermore, other instructions, including other CMPXCHG_SW and load instructions in the ROB, may be loaded and executed so that the processor may continue to perform other tasks at processing block 712. In other words, the sleeping of the CMPXCHG_SW instruction at the processor not only does not put the processor in a continuous spin or a "while" loop, but also it does not render the processor blocked or useless. Instead, although out-of-order, any number of subsequent instructions may be loaded and speculatively executed inside the critical section, but the instructions younger than the sleeping CMPXCHG_SW instruction may not be retired, until the oldest instruction (e.g., the sleeping CMPXCHG_SW instruction) is retired. None of the processors are blocked and they continue to perform useful tasks, saving power and time, and improving performance.
  At decision block 714, a determination is made as to whether the lock value has changed or an attempt has been made to rewrite the value. If not, the process of executing other instructions continues at processing block 712. If, however, an attempt has been made to change the lock value or if the value has been changed, the waking up of the sleeping CMPXCHG_SW instruction is triggered at processing block 716. Once the CMPXCHG_SW instruction is awaken and the lock becomes available, the lock is acquired by the processor at processing block 706. As part of the awakening of the CMPXCHG_SW instruction, the CMPXCHG_SW instruction may then be retired. Also, any subsequent instructions in the critical section that had been speculatively executed may also be retired.
  FIG. 8 is a block diagram illustrating an embodiment of a state machine 800 for implementation of the CMPXCHG_SW mechanism. If the cache line is available in the processor and the lock is available, the initial software "while" loop is passed and the instruction (e.g., CMPXCHG_SW instruction) is executed. As illustrated, the load is issued 802. If there is a hit 804 for the cache line, and after reading the value, it is determined that the lock is available (lock is "unlocked"), a request is issued for read for ownership (RFO) 806 of the cache line. Then, the mechanism for atomically acquiring the lock is started which leads to the initiating of various microinstructions (uops), such as load.
DSC0007.png
  In one embodiment, the load is issued 802, but the cache line is either missed or another processor is holding it (e.g., locked) 810 or simply there is not enough data in the cache to read or know whether it is locked or not. This may take some time to get it over the bus, which may cost several clocks to perform. This leads to the sleeping of the load in the memory order buffer (MOB) 812. The MOB 812 is used to contain the load and store buffers and to ensure that the proper ordering of memory operations is maintained. The MOB is also used to reissue loads that did not complete for some reason, such as a cache miss, memory ordering dependence, sleeping condition, etc. Further, the MOB tracks the reasons loads did not complete and wakes them up after the condition that prevented completion has been handled. In one embodiment, the data is in the cache, and after reading the value, it is determined that it is locked 810 (e.g., another processor has it). This also leads the load to go to sleep in the MOB 812. In one embodiment, one of (1) the cache line becoming available (e.g., now it is in the cache of the processor) or (2) another processor attempting to rewrite the value in the variable, potentially making the cache line available may trigger the wakeup 814 of the load. The load gets reissued 816, and if the cache line is available (e.g., there is a hit) and after reading the value it is determined that the lock is available (unlocked) 818, the request for ownership gets issued 806. However, if there is another miss 820, the load goes back to sleep 812.
  In one embodiment, a timeout counter may be introduced to provide a limitation on sleep time. For example, with the start of the timeout counter 822, the sleep time is ended after a certain quantum of time has elapsed since the processor started the sleep 812. Stated differently, the processor gives up on being awakened by another processor or by an event and, instead, performs other task (e.g. going to processing step 806). For example, the timeout counter may be necessary when a lock is owned by an inactive processor, which could leave other processors waiting with little or no chance of acquiring the lock. In one embodiment, upon being awaken by the timeout counter, the instruction may attempt to acquire the lock and may retire with an unsuccessful condition. In another embodiment, upon being awaken, the instruction may abort the attempt to acquire the lock and simply retire with an unsuccessful condition. Also, the processor waiting for the lock (e.g., the processor having the CMPXCHG_SW instruction in sleep mode), times out824, gives up on acquiring that particular lock, and performs other tasks to continue to be efficient. Also, the timeout 824 can cause the exit from the sleep state 812, indicating the processor seeking to acquire the lock for a while, but was unable to witness an invalidation of the cache line that indicates another processor is writing the line.
  The CMPXCHG mechanism may be implemented in and compatible with any number of microprocessor architectures, such as Intel's Pentium processors. The changes in such architectures may be minimal to the processor's MOB and data cache unit (DCU), where the state machine 800 for implementing the "sleep" mode may be placed in the DCU. For example, 3 bits of data in the memory system may be used to indicate locked or unlocked and so, the comparison can be done against the lowest 3 bits of a register (e.g., eax). However, any number of bits (e.g., 32) can be used in the memory system to indicate the lock/unlock status and the number can be divided in any way necessitated or desired (e.g., the bits for unlock and unlock may not have to be equal). Furthermore, the CMPXCHG_SW mechanism may use values 0 and 1 for unlocked and locked values, respectively, so the 3 least significant bits may be sufficient. In one embodiment, a thread can insert an identification (ID) value, instead of 1 and 0, to indicate the status. Also, any non-zero value can indicate lock, while value 0 can indicate free. In one embodiment, if the 3 bits of the expected free value and the value of the bits that are loaded from the memory are different, then the lock may be regarded as not free; however, if the values are matched, the lock may or may not be regarded as free. For example, the comparison may indicate a partial match between the current and the unlocked value. Partial matches may start an operation in an attempt to acquire the lock (e.g., processing block 806 and 808). However, when all the bits are compared using the CMPXCHG_SW mechanism, the operation may find that the lock is acquired by another processor and may take the branch in the code and try again.
  In one embodiment, for example, the comparator holds the value of eax [2:0] (e.g., the lower 3 bits of eax) and when the data is returned from a cache (e.g., L1 cache) for the load_with_store_intent uop, it is compared against the eax comparator. The load_with_store_intent uop is a constituent uop of the cmpxchg instruction and loads the value of the memory location being used as a lock variable. If the two are equal, then the value is written back on the writeback bus. If the two are not equal, the DCU aborts the writeback and puts the load to sleep in the MOB and starts the timeout counter. If the MOB detects an invalidation snoop for the lock cache line, it wakes up and re-dispatches the load_with_store_intent uop. The timeout counter may then be decremented at every clock. When it is equal to 0, the DCU may send a timeout signal to the MOB. The MOB dispatches the load_with_store_intent uop when it receives the timeout signal. During this dispatch, the load_with_store_intent uop executes to completion and retires irrespective of the result of the comparison.
  SRC=http://www.freepatentsonline.com/8607241.html

运维网声明 1、欢迎大家加入本站运维交流群:群②:261659950 群⑤:202807635 群⑦870801961 群⑧679858003
2、本站所有主题由该帖子作者发表,该帖子作者与运维网享有帖子相关版权
3、所有作品的著作权均归原作者享有,请您和我们一样尊重他人的著作权等合法权益。如果您对作品感到满意,请购买正版
4、禁止制作、复制、发布和传播具有反动、淫秽、色情、暴力、凶杀等内容的信息,一经发现立即删除。若您因此触犯法律,一切后果自负,我们对此不承担任何责任
5、所有资源均系网友上传或者通过网络收集,我们仅提供一个展示、介绍、观摩学习的平台,我们不对其内容的准确性、可靠性、正当性、安全性、合法性等负责,亦不承担任何法律责任
6、所有作品仅供您个人学习、研究或欣赏,不得用于商业或者其他用途,否则,一切后果均由您自己承担,我们对此不承担任何法律责任
7、如涉及侵犯版权等问题,请您及时通知我们,我们将立即采取措施予以解决
8、联系人Email:admin@iyunv.com 网址:www.yunweiku.com

所有资源均系网友上传或者通过网络收集,我们仅提供一个展示、介绍、观摩学习的平台,我们不对其承担任何法律责任,如涉及侵犯版权等问题,请您及时通知我们,我们将立即处理,联系人Email:kefu@iyunv.com,QQ:1061981298 本贴地址:https://www.iyunv.com/thread-112230-1-1.html 上篇帖子: POJ 1860 下篇帖子: Cannot open your default e-mail folders. The attempt to log on to Microsoft Exch
您需要登录后才可以回帖 登录 | 立即注册

本版积分规则

扫码加入运维网微信交流群X

扫码加入运维网微信交流群

扫描二维码加入运维网微信交流群,最新一手资源尽在官方微信交流群!快快加入我们吧...

扫描微信二维码查看详情

客服E-mail:kefu@iyunv.com 客服QQ:1061981298


QQ群⑦:运维网交流群⑦ QQ群⑧:运维网交流群⑧ k8s群:运维网kubernetes交流群


提醒:禁止发布任何违反国家法律、法规的言论与图片等内容;本站内容均来自个人观点与网络等信息,非本站认同之观点.


本站大部分资源是网友从网上搜集分享而来,其版权均归原作者及其网站所有,我们尊重他人的合法权益,如有内容侵犯您的合法权益,请及时与我们联系进行核实删除!



合作伙伴: 青云cloud

快速回复 返回顶部 返回列表