设为首页 收藏本站
查看: 2270|回复: 0

有关开机后win7任务管理器不断重启的问题,我的情况是sendrpt.exe导致的(转载,有补充)

[复制链接]

尚未签到

发表于 2015-5-16 13:50:57 | 显示全部楼层 |阅读模式
SendRpt.exe提示SendRpt:Error资源管理器未响应

  打开电脑就发现资源管理器就未响应,还发现一个标题为Report sending utility的SendRpt.exe进程占用CPU过高并提示SendRpt:Error,其实The SendRpt.exe is a Report sending utility.
前言
  昨天公司开年会用就是我的电脑,今天睡了一个大懒觉,起床玩Wow~我去资源管理器完全未响应,此时发现任务管理器里面有个SendRpt.exe进 程,Cpu占用15左右,相当无语,我右键打开文件所在位置,竟然是个人用户的临时文件夹。我结束掉该程序的进程后,删除该文件,再一次打开资源管理器, 竟然又一次的生成了该文件。无语了,于是我再temp文件夹里创建了一个名字为SendRpt.exe的文件夹并让其为只读属性,虽然这个小程序不生成文 件了,但资源管理器只要一打开就会未响应,唯一可以查看文件的地方就是任务管理器里面的浏览文件。。。
主要特征
  1、任务栏上的库按钮点击无反映
2、电脑开机后,电脑资源管理器就死掉
3、任务管理器里会发现一个SendRpt.exe进程,发现文件具体位置为C:\用户\用户名|AppData\Local\Temp
4、用winpe或者任务管理删除SendRpt.exe程序后,再次运行explorer后,会自动在该文件夹生成该程序
5、弹出几个错误窗口并且留有域名地址,开机出现SendRpt:Error,The SendRpt.exe is a Report sending utility.
DSC0000.jpg
6、任务管理器结束后,会使得资源管理器未响应
7、可以在temp文件夹建立一个文件夹为SendRpt.exe并改为只读后,程序不再生成,但是无论在任何位置,右键文件菜单,资源管理器就会未响应
8、CPU过高
初步判断
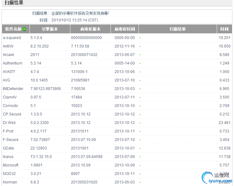
  我个人电脑右下角没有安装任何杀毒软件,我也不喜欢安装杀毒软件,难道是病毒,于是上传到VirScan扫描没有查出任何病毒
DSC0001.png
文件名为SendRpt.exe,病毒不会起这么一个名字的,一看就是一个发送报告的程序,竟然还有版本号,病毒会写版本号?呵呵,还有竟然还写上了公司名字,所以最终判定这不是病毒,话说我都N年没见过病毒了,只能判断这是一个类似病毒的Bug。
DSC0002.png
我去百度搜索,竟然只找到了3个人遇到了和我一样的问题,话说我这Rp也太差了吧,无语啊,无语,当然也有好心的百度网友给出解答。。。但我是菜鸟根本看不懂他在说什么
DSC0003.png
解决办法
  一般大神给的解决办法都是重装系统,这也太。。。。。
每次我安装完系统还要安装一套的adobe、VS 2013、Office 2013 以及激活还有系统美化的一些个性化设置,所以坚决不重装系统,后来我放弃了百度,投奔了谷歌,于是看到了这个
DSC0004.png
我去~~TortoiseSVN,竟然是他,难道是我不小心把他的某个服务或者计划任务给禁止了,
后来,只从我抛弃了BAE,投奔了香港服务器,我就很少去用TortoiseSVN了,于是我果断卸载。。。重启电脑,一切完好,你们要相信这个世界上以及没有病毒了,除非你们用xp,哇咔咔。话说公司也遇到这个情况了,应该是SVN的某服务器出现问题。
  转载自:http://winbule.com/sendrpt.html
  打开任务管理器->结束explorer.exe->文件->创建新任务->浏览->找到sendRpt.exe(删除)->windows目录下找到explorer.exe(运行进程)->OK
  补充:我的临时解决方法(其实和上面那句功能一致,只是写了一个批处理):
  taskkill /im explorer.exe /f
taskkill /im sendrpt.exe /f
Del C:\Users\Administrator\AppData\Local\Temp\SendRpt.exe
start explorer.exe
  把红字部分写入文本文档,然后把后缀名txt改为bat,然后双击运行即可。
  

运维网声明 1、欢迎大家加入本站运维交流群:群②:261659950 群⑤:202807635 群⑦870801961 群⑧679858003
2、本站所有主题由该帖子作者发表,该帖子作者与运维网享有帖子相关版权
3、所有作品的著作权均归原作者享有,请您和我们一样尊重他人的著作权等合法权益。如果您对作品感到满意,请购买正版
4、禁止制作、复制、发布和传播具有反动、淫秽、色情、暴力、凶杀等内容的信息,一经发现立即删除。若您因此触犯法律,一切后果自负,我们对此不承担任何责任
5、所有资源均系网友上传或者通过网络收集,我们仅提供一个展示、介绍、观摩学习的平台,我们不对其内容的准确性、可靠性、正当性、安全性、合法性等负责,亦不承担任何法律责任
6、所有作品仅供您个人学习、研究或欣赏,不得用于商业或者其他用途,否则,一切后果均由您自己承担,我们对此不承担任何法律责任
7、如涉及侵犯版权等问题,请您及时通知我们,我们将立即采取措施予以解决
8、联系人Email:admin@iyunv.com 网址:www.yunweiku.com

所有资源均系网友上传或者通过网络收集,我们仅提供一个展示、介绍、观摩学习的平台,我们不对其承担任何法律责任,如涉及侵犯版权等问题,请您及时通知我们,我们将立即处理,联系人Email:kefu@iyunv.com,QQ:1061981298 本贴地址:https://www.iyunv.com/thread-67523-1-1.html 上篇帖子: 预装win8的笔记本用第三方分区软件分区后出现0x0000225错误的解决方法/同理win7 下篇帖子: [MVC] win7 下 配置 IIS 问题
您需要登录后才可以回帖 登录 | 立即注册

本版积分规则

扫码加入运维网微信交流群X

扫码加入运维网微信交流群

扫描二维码加入运维网微信交流群,最新一手资源尽在官方微信交流群!快快加入我们吧...

扫描微信二维码查看详情

客服E-mail:kefu@iyunv.com 客服QQ:1061981298


QQ群⑦:运维网交流群⑦ QQ群⑧:运维网交流群⑧ k8s群:运维网kubernetes交流群


提醒:禁止发布任何违反国家法律、法规的言论与图片等内容;本站内容均来自个人观点与网络等信息,非本站认同之观点.


本站大部分资源是网友从网上搜集分享而来,其版权均归原作者及其网站所有,我们尊重他人的合法权益,如有内容侵犯您的合法权益,请及时与我们联系进行核实删除!



合作伙伴: 青云cloud

快速回复 返回顶部 返回列表