设为首页 收藏本站
查看: 6322|回复: 0

[经验分享] zabbix上华为交换机snmp OID查询温度信息配置

[复制链接]

尚未签到

发表于 2018-7-25 08:20:29 | 显示全部楼层 |阅读模式
  SNMP(Simple Network Management Protocol简单网络管理)协议 是现在网络管理系统(NMS)监控网络设备状态的协议,是现在网管事实上的标准,如果网络设备不支持SNMP协议的话,那就好花费大量的精力来说服NMS厂商来支持你的设备,这样得不偿失。
  SNMP支持的操作和操作方法很简单的(当然协议本身还是不简单的)。
  SNMP的操作:GET ,GETNEXT, SET, TRAP
  SNMP将被管理对象用一个树来组织,被管理对象用OID表示(看不懂的童鞋先去看看Google百度一下snmp),通过snmp操作oid即可得到网络管理的数据。
  oid长这样“.1.3.6.1.2.1.1.2.0”  子树 1 -> 3 -> 6 -> 1 -> 2 -> 1 -> 1 -> 2

  ZABBIX上有强大的模版,能够根据自动发规则查询到网络设备的snmp信息,生成监控项、触发器和图表。比如目前流行的华为系列的有s5700交换机模版,适用于大部分华为交换机通用,如下所示:
DSC0000.jpg

  但是,某些交换机,型号比较老,再加上snmp oid不是通用的,或者没有相关信息,这时需要自己手动查询进行配置。
  在zabbix上,一般使用snmpwalk命令进行。

一、能够在官网查询到交换机的软件和硬件
  进入华为官网的技术支持- 企业业务 |-信息查询助手按照交换机的型号和软件版本进行查询mib。
  网址为http://support.huawei.com/onlinetoolsweb/infoM/index.do?lang=zh&domain=1
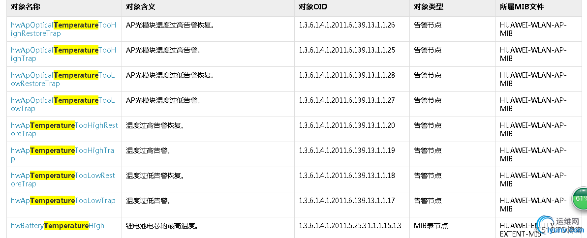
  本次查询以华为交换机5700任意版本为例,查询字段为temperature,结果如下:
DSC0001.jpg

  (图:查询示意)
DSC0002.jpg

  (图:查询到相关信息)
  我门需要查询的是能够直接显示交换机温度信息的
DSC0003.jpg

  已经确定了oid值的信息后,我们需要在zabbix上使用snmpwalk程序查询oid值,看能是否能够返回数值,如果可以,则证明oid正确。
  snmpwalk的命名为
  

snmpwalk -v 2c -c xxxx(snmp团体名) xx.xx.xx.xx(主机ip地址) .1.3.6.1.4.1.2011.5.25.31.1.1.1.1.11.67108873(oid)  

  查询的结果如下:
DSC0004.jpg

  返回整数字符值,38,代表当前温度38度。
  一旦确定了oid,就可以直接配置监控项键值。参考配置如下图所示:
DSC0005.jpg

  监测到的温度图表如下图所示:
DSC0006.jpg


二、查询不到交换机的软件和硬件信息
  有时候,交换机的设备较老,或者是停止生命周期停产了,无法在官网查询到正确的oid信息。
  但是在华为官网,能够搜寻到以前版本的oid信息,如下图所示:
DSC0007.jpg

  我们只要按照oid的大概范围 1.3.6.1.4.1.2011.5.25.31.1.1.1.1.11进行查询,确定能够有整数返回值的,就能确定详细的oid
  命令格式如下:
  

snmpwalk -v 2c -c xxxx(snmp团体名) xx.xx.xx.xx(主机ip地址) .1.3.6.1.4.1.2011.5.25.31.1.1.1.1.11(oid)  

  得到的输出结果如下图所示:
DSC0008.jpg

  基本上就能确定该交换机的关于温度的oid具体值为
  1.3.6.1.4.1.2011.5.25.31.1.1.1.1.11.603979777
  再确定完成后,我们按照该值添加监控项,如下图所示:
DSC0009.jpg

  说明:
  1、原有监控模版带有temperature,键值也为temperature,我更改为enterprises
  2、键值应该可以随便设定
  完成监控项后,添加图形
DSC00010.jpg

  最后生成的图形如下图所示:
DSC00011.jpg

  为了验证效果,最后登录交换机,查看温度。
  如下所示:
DSC00012.jpg

  证实,监控效果正确

运维网声明 1、欢迎大家加入本站运维交流群:群②:261659950 群⑤:202807635 群⑦870801961 群⑧679858003
2、本站所有主题由该帖子作者发表,该帖子作者与运维网享有帖子相关版权
3、所有作品的著作权均归原作者享有,请您和我们一样尊重他人的著作权等合法权益。如果您对作品感到满意,请购买正版
4、禁止制作、复制、发布和传播具有反动、淫秽、色情、暴力、凶杀等内容的信息,一经发现立即删除。若您因此触犯法律,一切后果自负,我们对此不承担任何责任
5、所有资源均系网友上传或者通过网络收集,我们仅提供一个展示、介绍、观摩学习的平台,我们不对其内容的准确性、可靠性、正当性、安全性、合法性等负责,亦不承担任何法律责任
6、所有作品仅供您个人学习、研究或欣赏,不得用于商业或者其他用途,否则,一切后果均由您自己承担,我们对此不承担任何法律责任
7、如涉及侵犯版权等问题,请您及时通知我们,我们将立即采取措施予以解决
8、联系人Email:admin@iyunv.com 网址:www.yunweiku.com

所有资源均系网友上传或者通过网络收集,我们仅提供一个展示、介绍、观摩学习的平台,我们不对其承担任何法律责任,如涉及侵犯版权等问题,请您及时通知我们,我们将立即处理,联系人Email:kefu@iyunv.com,QQ:1061981298 本贴地址:https://www.iyunv.com/thread-541017-1-1.html 上篇帖子: 企业网络中GVRP的配置使用简述 — 华为 下篇帖子: 华为:RIP:路由信息协议RIP(Routing Information Protocol)
您需要登录后才可以回帖 登录 | 立即注册

本版积分规则

扫码加入运维网微信交流群X

扫码加入运维网微信交流群

扫描二维码加入运维网微信交流群,最新一手资源尽在官方微信交流群!快快加入我们吧...

扫描微信二维码查看详情

客服E-mail:kefu@iyunv.com 客服QQ:1061981298


QQ群⑦:运维网交流群⑦ QQ群⑧:运维网交流群⑧ k8s群:运维网kubernetes交流群


提醒:禁止发布任何违反国家法律、法规的言论与图片等内容;本站内容均来自个人观点与网络等信息,非本站认同之观点.


本站大部分资源是网友从网上搜集分享而来,其版权均归原作者及其网站所有,我们尊重他人的合法权益,如有内容侵犯您的合法权益,请及时与我们联系进行核实删除!



合作伙伴: 青云cloud

快速回复 返回顶部 返回列表